पाणी पुरवठा स्त्रोत संसाधन व्यवस्थापन कक्ष

श्री. प्रकाश जि. भांगरे
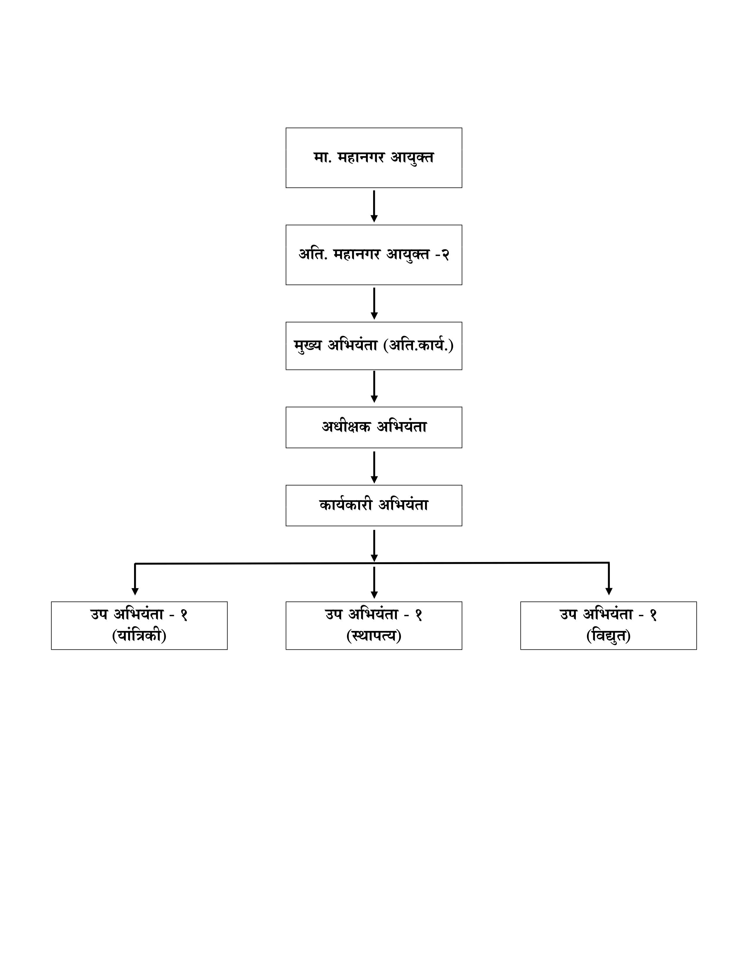
मुख्य अभियंता (अति. कार्य.)
पाणी पुरवठा स्त्रोत व्यवस्थापन कक्ष
पाणी पुरवठा स्त्रोत व्यवस्थापन कक्षामार्फत राबविण्यात येणारे प्रकल्प :
- 403 द.ल.ली प्रतिदिन सुर्या प्रादेशिक पाणी पुरवठा योजना
- देहरजी धरण प्रकल्प – मुंबई महानगर विकास प्राधिकरणांच्या अर्थसहाय्यातून प्रकल्पाचे बांधकाम कोंकण पाटबंधारे विकास महामंडळामार्फत केले जात आहे.
- काळू धरण प्रकल्प – मुंबई महानगर विकास प्राधिकरणांच्या अर्थसहाय्यातून प्रकल्पाचे बांधकाम कोंकण पाटबंधारे विकास महामंडळामार्फत केले जात आहे.

सुर्या प्रादेशिक पाणी पुरवठा योजना
403 द.ल.ली प्रतिदिन सुर्या प्रादेशिक जलपुरवठा योजना हा मुंबई महानगर विकास प्राधिकरणाचा महत्त्वाकांक्षी प्रकल्प आहे, जो प्रादेशिक पातळीवर घाऊक प्रमाणात जलपुरवठा प्रणाली निर्माण व अंमलात आणण्यासाठी तयार करण्यात आला आहे. हा प्रकल्प पश्चिम उप-क्षेत्रातील, म्हणजेच मिरा-भाईंदर महानगरपालिका, वसई विरार शहर महानगरपालिका व पालघर जिल्ह्यातील 44 गावांना घाऊक प्रमाणात पाणी पुरवठा करण्यासाठी राबवण्यात येत आहे.
प्रकल्पाचे स्थान
- पाण्याचा स्त्रोत: सुर्या धरण, गाव: धामणी, तालुका: जव्हार
- उदंचन केंद्र: गाव: कवडस, तालुका: विक्रमगड, जिल्हा: पालघर
- जल शुद्धीकरण केंद्र: गाव: वेती, तालुका: डहाणू, जिल्हा: पालघर
- इतर पायाभूत सुविधा: जल शुद्धीकरण केंद्र ते वसई विरार आणि मिरा-भाईंदर शहरापर्यंत विस्तारित
लाभार्थी व पाणी पुरवठा तपशील
| अनु क्र. | लाभार्थी | सद्यस्थितीत लोकसंख्या (म.न.पा. कडून प्राप्त माहिती नुसार) |
सद्यस्थितीत पाण्याची मागणी (द.ल.लि) | सद्यस्थितीत होणारा पाणी पुरवठा (द.ल.लि) | सदर योजनेतून होणारा पाणी पुरवठा (द.ल.लि. प्रतिदिन) | कमतरता |
|---|---|---|---|---|---|---|
| अ. | वसई विरार महानगरपालिका व मार्गातील 44 गावे | 25 लक्ष | 422 | 400 | 170 | 22 (5.2%) |
| ब. | मिरा-भाईंदर महानगरपालिका | 15 लक्ष | 240 | 195 | 218 | 55 (22.9%) |
| क. | पालघर जिल्ह्यातील 44 गावे | 2.2 लक्ष (सन 2051) | 15 | - | 15 | - |
| एकूण | 403 द.ल.ली | |||||
कराराबाबतची माहिती
- प्रकल्पाची निविदा रक्कम : ₹1329.01 कोटी (या मध्ये 8 वर्षांचे देखभाल व संचालन समाविष्ट आहे)
- प्रकल्प कंत्राटदार: मे. एल अँड टी कन्स्ट्रक्शन
- प्रकल्प सल्लागार: मे. एसटीसी कन्सोर्टियम
- कार्यारंभ आदेश: 04.08.2017
- प्रकल्प कालावधी: 34 महिने
- सुधारित पूर्णता दिनांक: 31.12.2025
1. प्रकल्प नियोजन
- मुंबई महानगर क्षेत्रातील लोकसंखेची वाढ व मागणीच्या अनुषंगाने पाणीपुरवठ्याच्या गरजांचे मुल्यांकन करणे
- तांत्रिक, आर्थिक, पर्यावरणीय आणि सामाजिक मूल्यांकन करणे.
- अंदाजपत्रक नियोजन, निधी व्यवस्था आणि संसाधन संकलन.
- नेमलेल्या सल्लागारांच्या समन्वयाने प्राथमिक व सविस्तर आराखडे तयार करणे.
2. प्रकल्प अंमलबजावणी
- प्रकल्पास आवश्यक परवानग्या संबधित विभागाकडून प्राप्त करुन घेणे
- निविदा काढणे, प्रस्तावांचे मूल्यांकन करणे आणि शासकीय धोरणानुसार करार मंजूर करणे.
- प्रकल्पाच्या अंमलबजावणीदरम्यान कायदेशीर, पर्यावरणीय व सुरक्षितता निकषांचे पालन सुनिश्चित करणे.
3. प्रकल्प बांधकाम
- गुणवत्तेचे निरीक्षण आणि वेळेत बांधकाम पूर्णता सुनिश्चित करणे.
- अभियांत्रिकी, साहित्य किंवा वाहतूक यांसंबंधित अडचणी सोडवणे.
- बांधकाम दर्जा टिकवण्यासाठी नियमित साइट भेटी व चाचण्या करणे.
4. प्रकल्प निरीक्षण
- डिजिटल साधने व नियमित अहवालाद्वारे प्रकल्पाचे टप्पे व खर्चाच्या वापराचे परीक्षण करणे.
- खर्चवाढ किंवा तांत्रिक अपयश यांसारख्या जोखमी ओळखणे आणि निवारण उपाय सुचवणे.
- नियमित सार्वजनिक माहिती व अद्ययावत अहवालांद्वारे पारदर्शकता राखणे.
5. संचालन व देखभाल (O&M)
- पाणीपुरवठा प्रणालींचे सातत्यपूर्ण व कार्यक्षम संचालन सुनिश्चित करणे.
- पायाभूत सुविधा आणि उपकरणांची प्रतिबंधक व दुरुस्ती देखभाल करणे.
- बीलिंग, मीटरिंग आणि खर्च वसुली यासाठी यंत्रणा विकसित करणे.
- जलसंधारणासाठी वापरकर्त्यांमध्ये जनजागृती करणे.
- पाण्याचा अपव्यय कमी करणे, पुनर्वापर/पुनर्नियोजन प्रोत्साहित करणे आणि दीर्घकालीन संसाधन टिकाव सुनिश्चित करणे.
- कवडास बंधाऱ्यावर 432 द.ल.ली क्षमतेचे उदंचन केंद्र
- सुर्यानगर येथे 418 द.ल.ली क्षमतेचे जल शुद्धीकरण केंद्र
- सुर्यानगर येथे 1.08 द.ल.ली क्षमतेचा ब्रेक्र प्रेशर टँक
- अशुद्ध व शुद्ध पाण्याची पंपिंग लाईन: व्यास = 2235 मिमी, लांबी = 2.3 किमी
- ब्रेक्र प्रेशर टँक ते कशिदकोपर जंक्शनपर्यंत मुख्य जलवाहिनी: व्यास = 2235 मिमी, लांबी = 55.5 किमी
- काशिदकोपर जलाशय ते चेने जलाशय पर्यंत मुख्य जलवाहिनी: व्यास = 1829 मिमी, लांबी = 22.8 किमी
- मेढवणखिंड बोगदा: लांबी = 1.7 किमी, व्यास = 2.85 मी
- तुंगारेश्वर वन्यजीव अभयारण्य बोगदा: लांबी = 4.6 किमी, व्यास = 2.85 मी
- कामण खाडी बोगदा: लांबी = 300 मी, व्यास = 2 मीटर
- वसई खाडी बोगदा: लांबी = 720 मीटर, व्यास = 2 मीटर
- वसई विरार शहर महानगरपालिकेसाठी कशिदकोपर येथे जलाशय – ३८ द.ल.ली
- मिरा-भाईंदर महानगरपालिकेसाठी चेने येथे जलाशय – 45 द.ल.ली
वसई-विरार परिसरातील वाढती पाणीटंचाई व पाण्याची मागणी लक्षात घेता, मुंबई महानगर विकास प्राधिकरणाने सुर्या प्रादेशिक पाणी पुरवठा योजनेचा पहिला टप्पा कार्यान्वित केला असून, दिनांक 15.11.2023 पासून वसई-विरार शहर महानगरपालिकेस नियमित पाणी पुरवठा सुरू करण्यात आला आहे. योजनेचे उद्घाटन पंतप्रधान श्री. नरेंद्र मोदी यांच्या हस्ते 12.01.2024 रोजी करण्यात आले. प्राधिकरणामार्फत वसई-विरार महानगरपालिकेस सुमारे 160-170 द.ल.ली प्रतिदिन पाणी पुरवठा काशिदकोपार जलाशय येथून केला जात आहे. या टप्प्याअंतर्गत सुमारे 14 लाख लोकसंख्येला पिण्याचे पाणी उपलब्ध करून दिले जात आहे.
प्रकल्पाचा दुसऱ्या टप्पा अंतर्गत 218 द.ल.ली प्रतिदिन पाणी पुरवठा मिरा-भाईंदर महानगरपालिका व पालघर जिल्ह्यातील 44 गावांना केला जाणार आहे. दुसऱ्या टप्यातील कामे सध्या प्रगतीपथावर असून संपूर्ण योजना माहे डिसेंबर 2025 अखेर पूर्ण करण्याचे नियोजन आहे. या टप्प्यांतर्गत मिरा-भाईंदर परिसरातील अंदाजे 16 लाख लोकसंख्येस पिण्याचे पाणी पुरवले जाणार आहे. प्रकल्पाचा दुसरा टप्पा कार्यान्वित करण्याकरिता MSETCL कडून 132 के.व्ही. उच्च दाबाचा वीजपुरवठा उपलब्ध होणे आवश्यक आहे.
| अनु क्र. | प्रकल्पाचे घटक | व्याप्ती | कामाची स्थिती | प्रगती (%) |
|---|---|---|---|---|
| 1 | कवडास येथील उदंचन केंद्र | 432 एमएलडी | काम पूर्ण व टप्पा–1 कार्यान्वित | 99% |
| 2 | जलशुद्धीकरण केंद्र | 418 एमएलडी | काम पूर्ण | 97% |
| 3 | ब्रेक प्रेशर टँक | 1.035 एमएल | काम पूर्ण | 100% |
| 4 | जलवाहिनीची काम | लांबी / व्यास | ||
| अ. उदंचन केंद्र ते जल शुद्धीकरण केंद्र | 2.35 किमी / 2.235 मी | काम पूर्ण | 100% | |
| ब. ब्रेक प्रेशर टँक ते कशिदकोपार जंक्शन | 55.52 किमी / 2.85 मी | काम पूर्ण | 100% | |
| क. | काशिदकोपर ते चेने | 22.84 किमी / 1.829 मी | काम प्रगतीपथावर | 87% |
| 5 | भुयारी बोगदे (4 एकूण) | लांबी / व्यास | ||
| अ. मेढवणखिंड बोगदा (NH-08) | 1.7 किमी / 2.85 मी | काम पूर्ण | 100% | |
| ब. तुंगारेश्वर अभयारण्य बोगदा | 4.45 किमी / 2.85 मी | बोरिंग पूर्ण, अंतिम चाचणी ऑक्टोबर 2025 पर्यंत पूर्ण करण्याचे नियोजन | 98% | |
| क. वसई खाडी बोगदा | 0.9 किमी / 2.0 मी | काम प्रगतीपथावर, नोव्हेंबर 2025 अखेर पूर्ण करण्याचे नियोजन | 25% | |
| ड. कामण खाडी बोगदा | 0.250 किमी / 2.0 मी | बोरिंग पूर्ण; नोव्हेंबर 2025 अखेर पूर्ण करण्याचे नियोजन | 82% | |
| 6 | मुख्य जलसाठा टाक्या (2 एकूण) | क्षमता | ||
| अ. काशिदकोपार जलाशय (वसई विरार करीता) | 38 द.ल.ली | काम पूर्ण | 100% | |
| ब. | चेने जलाशय (मिरा भाईंदर करीता) | 45 द.ल.ली | काम प्रगतीपथावर; नोव्हेंबर 2025 अखेर पूर्ण करण्याचे नियोजन | 70% |
GoM orders for Diversion & Re-diversion of Forest land in favour of MMRDA for Surya Water supply Project :
| S. No. | Description | Details |
|---|---|---|
| 1 | Diversion | |
| 2 | Rediversion | |
| 3 | Public Notice for Vasai Creek and Kaman River |
CRZ Approval for Vasai Creek & Kaman River :
| S. No. | Description | Details |
|---|---|---|
| 1 | Vasai Creek | |
| 2 | Kaman River |
Private Land Notifications :
| S. No. | Description | Details |
|---|---|---|
| 1 | Vasai | |
| 2 | Mendhavan | |
| 3 | Varai |
Intake structure (उदंचन केंद्र )
Water Treatment Plant (जलशुद्धीकरण केंद्र)
Pipelaying works (जलवाहिनीची कामे)
Kashidkopar MBR (काशिदकोपार जलाशय) Kashidkopar MBR (काशिदकोपार जलाशय)
Tungareshwar Tunnel (तुंगारेश्वर बोगदा)
Mendhvankhind tunnel (मेढवणखिंड बोगदा)
Chene MBR (चेने जलाशय)



